在本文中,我们将探讨CPI和外汇交易,了解交易者应该了解哪些有关消费者价格指数的信息,以便做出明智的决策。我们将介绍 CPI 的概念、CPI 发布日期、如何解释 CPI 以及根据 CPI 数据进行外汇交易时应考虑的事项。
什么是 CPI?为什么它对外汇交易者很重要?
消费者价格指数,简称CPI,是主要经济体定期发布的重要经济指标,旨在及时了解当前的增长和通胀水平。
通过消费物价指数追踪的通货膨胀专门关注一个经济体中的购买力以及商品和服务价格的上涨,这可以用来影响一个国家的货币政策。
CPI 的计算方法是对预先确定的一篮子消费品中每种商品的价格变化进行平均,其中包括食品、能源以及医疗保健等服务。
对于外汇交易者来说,它是一个有用的指标,因为它对货币政策以及利率有上述影响,而利率对货币强度有直接影响。下面将探讨外汇交易者了解如何解读 CPI 的全部用处。
消费者物价指数发布日期
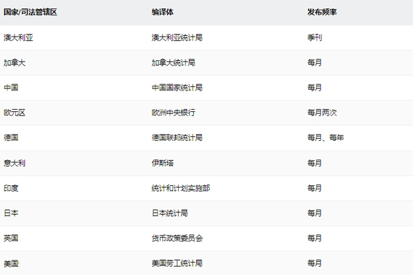
CPI 发布日期通常每月发布一次,但在某些国家/地区,例如新西兰和澳大利亚,每季度发布一次。一些国家还提供年度结果,例如德国的指数。美国劳工统计局自 1913 年起每月报告消费物价指数 (CPI)。
下表显示了一些主要经济体及其 CPI 发布的信息。

为什么外汇交易者应该关注 CPI 数据
了解 CPI 数据对外汇交易者很重要,因为它是通胀的有力衡量指标,而通胀反过来又对央行货币政策产生重大影响。
那么CPI如何影响经济呢?通常,通胀上升将导致政策制定者设定更高的基准利率,以帮助抑制经济并抑制通胀趋势。反过来,一个国家的利率越高,其货币就越有可能升值。相反,利率较低的国家通常意味着货币疲软。
CPI 数据的发布和修订可能会导致一种货币相对于其他货币的价值波动,这意味着熟练交易者可以从中受益的潜在有利波动。
此外,消费者物价指数数据通常被认为是衡量政府针对国内经济状况的经济政策有效性的有用指标,这是外汇交易者在评估货币变动可能性时可以考虑的因素。
CPI还可以与生产者价格指数等其他指标结合使用,让外汇交易者更清楚地了解通胀压力。
根据 CPI 数据进行外汇交易时应考虑什么
当使用 CPI 数据影响外汇交易决策时,交易者应考虑市场对通胀的预期,以及如果满足或未满足这些预期,货币可能会发生什么。
与任何主要版本类似,避免之前持有未平仓头寸可能是有益的。交易者可能会考虑在报告发布后等待几分钟,然后再寻找可能的交易,因为外汇利差可能会在报告发布前后大幅扩大。
解读 CPI 数据影响的一种方法是监控美元指数,下面是 2018/19 年的示例图表。如果CPI的释放超出预期,我们有理由相信这可能成为推动该指数创出新高或从阻力位反弹的催化剂。
由于该指数由欧元/美元、美元/日元和英镑/美元组成,通过观察美元,我们可以全面解读事件结果。

从上面的例子可以看出,随着2018年上半年通胀上升,美元指数随之上涨。但随着美国通胀在接下来的几个月中逐渐走低,且未能达到 2% 的目标,这使得美国加息被排除在议程之外。结果,美元兑一篮子其他货币陷入困境并走软。
并非所有基本面新闻发布都如预期那样通过价格来体现。
一旦消费者物价指数数据发布并进行分析,交易者就应该关注市场价格是否正在穿越或从任何具有重要技术意义的区域反弹。这将帮助交易者了解短期走势的强度和/或技术支撑或阻力水平的强度,并帮助他们做出更明智的交易决策。


